8月10日,蓝鲸新闻独家报道的《投资3万年入百万?起底"假冒支付宝招商"骗局:多地商户上当,涉案金额超千万》一文引发了广泛关注。

据调查,自2024年支付宝在全国推广“碰一碰”支付技术以来,多个无资质公司假冒支付宝官方,以“区域独家代理、特许招商加盟”等名义,通过伪造授权文件、虚构合作项目等方式,向商户收取3万-10万元不等的代理费和保证金,得手后,这些公司迅速跑路。
记者调查发现,此类骗局已导致全国多地商户受骗,累计涉案金额超千万元。报道发出后,蓝鲸记者收到大量有同样受骗经历商户的爆料,相关线索仍在持续增加中。
招商会变“抢劫现场”?商户称被围逼转账3万
来自江西萍乡的胡女士告诉记者,2024年12月27日接到一个陌生电话,被要求前往酒店参与支付宝“碰一碰”招商会。
到达现场后,胡女士发现会场布置专业,工作人员均穿着印有支付宝标识的马甲,桌牌也标注为支付宝相关活动。会议期间,该公司播放了支付宝公司的宣传片,并声称其“碰一碰”设备是支付宝授权产品,承诺参与者成为“区域服务商”后,每铺设一台设备即可获得200元现金奖励及万分之十三的佣金。

在会议过程中,工作人员以“协助操作”为由,擅自拿走胡女士的手机进行扫码支付,并输入金额29900元。受访者称:“当时多名男性工作人员围住我,威胁输入支付密码。他们根本不给我仔细看合同的机会,直接逼我交钱。”
得手后连夜消失,团伙全国流窜作案
值得注意的是,在缴纳费用后,工作人员仅交付了两台“碰一碰”设备(本应交付30台),便迅速将她送离会场。当晚,胡女士尝试联系对方时,发现电话已无法接通,意识到被骗后立即报警。警方调查发现,该团伙已逃离当地。

从胡女士的陈述来看,整个过程和此前报道中受骗人裕裕的经历如出一辙,连日来,有十余名商户向记者曝光了自己的被骗经历,并且涉事公司均为杭州碰付科技有限公司。
蓝鲸记者通过多方核实发现,该公司擅长采用“游击战”的模式,其足迹已遍布多个省市。根据受害者提供的信息来看,该团伙先后在上海、湖南邵阳、湖南娄底、江西萍乡等地以相同手法行骗。

其作案模式具有明显的流动性特征,在一个城市举办完招商会后,立即转移至下一个城市继续,以此逃避打击。

同一团伙“换壳”行骗多年,商户打赢官司也难追偿
发现被骗后,多个商户向杭州当地市监局投诉,但被告知杭州碰付科技是一家“三无”公司——无实际经营场地、无固定资产、无稳定雇员。
蓝鲸在此前报道中也提到,2024年12月,杭州市高新区(滨江)市场监督管理局,因通过登记的住所或者经营场所无法联系,将该公司列入经营异常名录。就连公司的法定代表人杜学彬在采访时也自称是“顶包人”。
记者在商户们提供的付款记录中发现,收款方并非公司,而是“某某泉”个人账户。

有受访者告诉蓝鲸记者,账户人全名为肖松泉,此人从多年以前便开始以类似的方式在全国多地行骗。杭州碰付这一公司中之所以没有出现肖松泉,是因为其身背多起合同纠纷官司,故而无法担任杭州碰付法定代表人。目前杭州碰付的法定代表人正是被肖松泉团伙推举出来的顶包人。

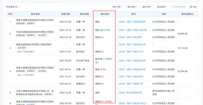
记者查询天眼查发现,肖松泉是湖南闵遂信息技术有限公司的法定代表人,该公司成立于2020年4月,注册资本500万。2021年4月,湖南闵遂同样因通过登记的住所或者经营场所无法联系而被长沙市雨花区市场监督管理局列入经营异常名录。
不仅如此,该公司还存在税收违法、限制高消费等多个风险提示,身背30多起司法案件,且均为被告,涉案总金额超过40万。

蓝鲸记者从一份判决结果中发现,原告与湖南闵遂签订了《刷脸支付项目合作(服务)协议》,法院判决公司向原告返还29800元服务费。

由此可见,该公司多年前便开始假冒支付宝官方,推广刷脸支付项目骗局。随着技术迭代,该团伙将曾经的刷脸支付设备替换为如今的“碰一碰”终端,利用杭州碰付这个皮包公司继续行骗。
有受骗者告诉记者,此类公司的高明之处就在于善于利用法律漏洞规避风险,将一个很明显的集资诈骗包装成合同纠纷。即便向当地警方报案,大多数人给到的回应也只是合同纠纷,需要到当地法院起诉。
更令人绝望的是,即便受骗者历经千辛万苦打赢了官司,面对的很可能只是一纸“空头判决”。因为这些“三无"公司既无实际资产,又无固定经营场所,法院判决后根本无法执行。许多受害者因取证困难、诉讼周期长、追偿成本高等原因,最终不得不放弃维权。
签约了就是合同纠纷?律师:已涉嫌诈骗罪和集资诈骗罪,合同绝非逃避刑责的护身符
针对上述公司的一系列行骗套路,蓝鲸记者咨询了律师。
北京云亭律师事务所王琼律师表示,本案中,涉事公司以“支付宝碰一碰代理”项目为幌子,实施大规模诈骗活动,其行为严重扰乱了市场秩序,损害了商户的合法权益。从法律角度看,这些公司的行为已涉嫌诈骗罪和集资诈骗罪,而非简单的合同纠纷。
根据《中华人民共和国刑法》第二百六十六条的规定,诈骗罪是指以非法占有为目的,通过虚构事实或隐瞒真相的方法,骗取数额较大的公私财物的行为。报道中提到,这些公司假冒支付宝官方名义进行招商活动,虚构“独家代理”“区域招商”等项目,制造投资收益的假象,诱导商户缴纳高额代理费和保证金后卷款跑路,其行为符合诈骗罪的构成要件。
另根据《中华人民共和国刑法》第一百九十二条的规定,以非法占有为目的,使用诈骗方法非法集资,数额较大的,处三年以上七年以下有期徒刑,并处罚金;数额巨大或者有其他严重情节的,处七年以上有期徒刑或者无期徒刑,并处罚金或者没收财产。这些公司以市代6万、省代12万、国代25万等不同层级的代理模式向不特定商户吸资,承诺“年入百万”固定收益符合集资诈骗罪。
同时根据《最高人民法院关于审理非法集资刑事案件具体应用法律若干问题的解释》,非法集资行为包括未经批准吸收公众资金、承诺高额回报、向社会公众公开宣传等特征。报道中提到,这些公司以高额收益为诱饵,吸引大量商户投资,并将资金用于自身运作或卷款潜逃,具有明显的非法集资性质。
关于商户们维权困难的问题,王琼律师认为,受害者可依据《民法典》第一百五十三条的规定,向法院提起诉讼,要求确认合同无效,并判令涉事公司返还已支付的款项及利息。在起诉的同时,向法院申请财产保全,查封涉事公司的账户或资产,以确保胜诉后的执行可能性。
通过刑事维权途径,报案并推动立案。按照前述内容,积极收集证据并向公安机关报案,争取将案件定性为集资诈骗罪。在案件进入刑事程序后,受害者应主动配合公安机关和检察机关的工作,提供必要的证言和证据。
此外,还可以援引同类犯罪事实南宁边拓公司集资诈骗判决书(相同手法已定罪)支持诉求。
王琼律师强调,当骗子使用虚假身份签约,收款后既不交付设备也不经营业务,反而转移资金跑路时,合同只是诈骗的道具,绝非逃避刑责的护身符。受害人应立即刑事报案,并穿透追究实际控制人责任。
(责任编辑:zx0600)
